nextraCOM LHX-8130A-2X - Bi-directional Distribution Amplifier |
 |
Adopt high-output Philips microwave component amplifier, perfect fore-and-aft power doublers and
fore-and-aft independent forward and reverse test ports suitable for bi-directional distribution network.
|
|
 |
|
Specifications: |
Forward Transmission |
Frequency Range |
MHz |
(47)87~860 |
Rated Gain |
dB |
24 |
Min Fill Gain |
dB |
≥24 |
Rated Input Level |
dBµV |
72 |
Rated Output Level |
dBµV |
96 |
Flatness in band |
dB |
±1 |
Noise Figure |
dB |
≤10 |
Return Loss |
dB |
≥14 |
C/CTB(84 PAL-D) |
dB |
≥57 |
C/CSO (84 PAL-D) |
dB |
≥56 |
Signal tonoise ratio |
dB |
≥66 |
Voltage stroke |
KV |
5(10/700µS) |
Backward Transmission |
Frequency Range |
MHz |
5~(30)65 |
Rated Gain |
dB |
18 |
Flatness in band |
dB |
±1 |
Noise Figure |
dB |
≤12 |
Return Loss |
dB |
≥12 |
MAX Output level |
dBµV |
≥110 |
Carrier to second order intermodulation ratio |
dB |
≥52 |
Carrier to Alternative noise ratio |
dB |
≥66 |
General |
Power Voltage (50Hz) |
V |
A: 220±15% OR B: 60 |
Power Consumption |
VA |
10 |
Dimension |
mm |
235(L)x140(W)x110(H) |
|
|
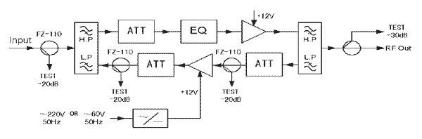
Principle drawing
|
|
Product structure
|
1. RF, AC Input Port |
2. Forward Adjust EQ |
3. Forward Adjust ATT |
4. Return Adjust ATT |
5. RF Output Port |
6. RF Test Port |
7. Power Supply LED |
|
|
|
* Specification is subject to change without notice |